發布時間:2013-11-30 14:51:25 人氣:425 來源:華通氣動
氣液聯動位置控制回路
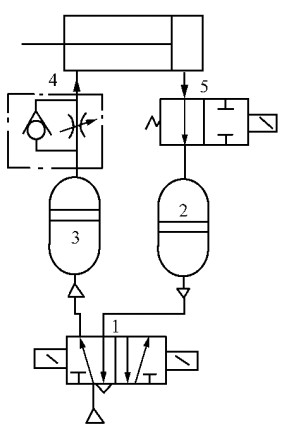
當要求定位精度較高時,可采用氣液聯動位置控制回路。
圖1 所示為采用并聯式氣—液阻尼缸的位置控制回路。在阻尼缸伸出和退回過程中,兩個二位二通液壓電磁閥可使阻尼缸停下來,一旦停止運動,三位閥即處于中位,氣缸兩腔室壓力為大氣壓,操作更為方便。

圖1 氣—液阻尼缸位置控制回路
圖2 所示為采用氣液轉換器控制活塞桿中停位置的回路,單向節流閥控制氣缸退回速度。當二位二通電磁閥切斷回程油路時,可迅速使活塞桿停止在行程任意位置上。

圖2 氣—液轉換器位置控制回路
熱線電話
0510-83591123
上班時間
周一到周六
營銷QQ
800099935
